板式冷却器生产厂家
网站首页
HOMEPAGE
公司简介
ABOUT US
产品展示
PRODUCTS
新闻中心
NEWS CENTER
产品知识
KNOWLEDGE
服务网络
NETWORK
客户反馈
FEEDBACK
联系我们
CONTACT US
生产车间
workshop
板式冷却器
板式冷却器
板式冷却器
  • 板式冷却器
    华航液压
  • 板式冷却器
    华航液压
  • 板式冷却器
    华航液压


联系我们 CONTACT US

地    址:南通市海安南莫高扬工业园区
电    话:+86-0513-88486051
传    真:+86-0513-88487758

手    机 :15862734680(崔经理)

维修热线:18796795379(刘工)
E-MAIL:hhlqq8@126.com


 
产品展示
+ 您现在的位是:板式冷却器-产品展示
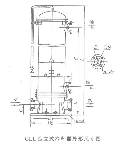
GLL 型冷却器

型号
L
C
L1
C1
H
D1
D2
D3
DN
D4
n-d1
n1-d2
重量
(kg)
GLL5-35L
2610
1692
470
150
315
426
640
590
80
160
6-ø30
8-ø17.5
735
GLL5-40L
2880
1962
805
GLL5-45L
3120
2202
100
180
855
GLL5-50L
3390
2472
940
GLL5-60L
3930
3012
1065
GLL6-80L
3255
2015
705
235
500
616
1075
1015
125
210
6-ø40
1670
GLL6-100L
3855
2615
1945
GLL6-120L
4455
3215
150
240
8-ø22
2220
GLL7-160L
3320
2010
715
602
820
1210
1150
2770
GLL7-200L
3970
2660
200
295
3340

注:GLCA型与GLC型外形尺寸相同,油、水口有螺纹和法兰两种冷却器

我厂将根据客户来样来图非标产品进行设计,报价..

 

Copyright 2014-2015 nthhyy.com ALL RIGHTS RESERVED 板式冷却器领导者品牌-海安华航换热器制造厂 版权所有
地 址:南通市海安南莫高扬工业园区 服务热线:0513-88486051 传 真:0513-88487758邮 编:226000

友情链接: 板式冷却器价格 |涡轮流量计 |蒸汽流量计 |涡轮流量计 |涡街流量计